广东产品展示
/ Products Classification 点击展开+详细介绍

一、广东海湾GST-TS-100A消防电话分机概述
GST-TS-100A总线制固定式消防电话分机是为消防专用而设计开发的总线制通讯设备,通过它可迅速实现对火灾的人工确认,并可及时掌握火灾现场情况及进行其它必要的通信联络,便于指挥灭火及恢复工作。
二、广东海湾GST-TS-100A消防电话分机特点
GST-TS-100A型消防电话分机是消防专用总线制通讯设备,GST-TS-100A型消防电话分机为固定式安装,摘机即呼叫电话主机。
三、广东海湾GST-TS-100A消防电话分机技术特性
| 工作电压 | DC24V,允许范围:DC20V~DC28V |
| 工作电流 | 通话时电流约为25mA |
| 线制 | 无极性二总线制 |
| 使用环境 | 温度:-10℃~+50℃ 相对湿度:≤95%,不凝露 |
| 外形尺寸 | 206mm×56mm×51.5mm |
| 执行标准 | Q/GST28-2005 |
四、广东海湾GST-TS-100A消防电话分机结构特征与安装
GST-TS-100A 型消防电话分机、GST-TS-100B 型消防电话分机外形尺寸及结构示意图分别如图。

GST-TS-100A型消防电话分机外形结构图

GST-TS-100B 型消防电话分机外形尺寸及结构示意图
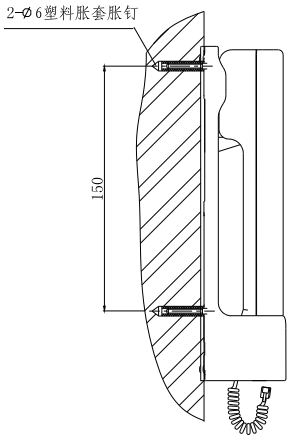
GST-TS-100A 型消防电话分机安装示意图如图所示:

GST-TS-100A 型消防电话分机安装示意图
在安装处打出间距为150mm的两个φ6的孔,穿入φ6的胀套,用φ6的胀钉固定好后,将GST-TS-100A消防电话分机底座直接挂在胀钉上。将电话线插头插入GST-LD-8304型消防电话接口的电话插孔内。
GST-TS-100B型消防电话分机的电话线插头,直接接入GST-LD-8312型消防电话插孔的插孔内即可使用。
本文标签:
相关服务 / service
地区产品 / city
相关产品 / product
相关新闻 / news
- 广东新国标 新升级|海湾消防应急照明产品新方案[ 2025-12-02 ]
- 广东新国标新升级 | 海湾新国标火灾报警控制器智慧守护再进阶[ 2025-12-02 ]
- 广东成品锂电池存储的话,火灾危险类别为哪一类?是否需要考虑防爆措施[ 2025-11-29 ]
- 广东室外消火栓的消防水枪应该配置几个?[ 2025-11-26 ]
- 广东车库中需要设置一氧化碳探测器吗?[ 2025-11-22 ]
- 广东预作用报警系统不带湿式报警阀[ 2025-11-22 ]
- 广东消火栓箱上铭牌与操作说明会设置啥?[ 2025-11-20 ]
- 广东石油化工火灾报警系统维护保养技术标准[ 2025-11-12 ]
联系我们
- 电话:4006-598-119
- 邮箱:1334605518@qq.com
- 地址:苏州市常熟市黄河路275号
- 版权所有:智淼君安(江苏)消防工程技术有限公司
- 海湾消防 www.gstyg.com 网站地图 (XML/TXT)
- ICP备案证书号:苏ICP备19022074号-10
苏公网安备32058102002167号
扫一扫,关注我们
- 广东关于我们
- 广东产品展示
- 广东火灾自动报警系统
- 广东气体灭火系统
- 广东电气火灾监控系统
- 广东消防电源监控系统
- 广东防火门监控系统
- 广东应急照明疏散系统
- 广东极早期空气采样系统
- 广东消防余压监控系统
- 广东可燃气体监控系统
- 广东智慧消防物联网系统
- 广东涉外消防设备
- 广东空气采样探测器
- 广东消防水炮系统
- 广东其它配件
- 广东联网及通讯接口
- 广东海湾消防技术视频
- 图探系统
- 广东新闻中心
- 广东技术文章

服务热线:








<
<
<
<
